Запасные части ЧТЗ Запасные части ЧТЗ
Шымкент
Например:
Актобе
Алдан
или
Выбрать автоматически
Актобе
Алдан
Алматы
Алчевск
Архангельск
Астана
Астрахань
Атырау
Баку
Балашиха
Барнаул
Белгород
Бердянск
Бишкек
Владивосток
Владикавказ
Воркута
Воронеж
Горловка
Грозный
Донецк
Екатеринбург
Иваново
Ижевск
Иркутск
Казань
Калининград
Каменск-Уральский
Караганда
Каховка
Кемерово
Киров
Комсомольск-на-Амуре
Костанай
Краснодар
Красноярск
Красный луч
Ленск
Луганск
Магадан
Магнитогорск
Макеевка
Махачкала
Мелитополь
Минск
Мирный (Якутия)
Москва
Мурманск
Нерюнгри
Нижневартовск
Нижний Новгород
Нижний Тагил
Новая каховка
Новокузнецк
Новосибирск
Новый Уренгой
Норильск
Ноябрьск
Нур-Султан
Омск
Оренбург
Ош
Павлодар
Пермь
Петрозаводск
Петропавловск
Петропавловск-Камчатский
Псков
Ростов-на-Дону
Салехард
Самара
Санкт-Петербург
Саратов
Севастополь
Семей
Симферополь
Сочи
Ставрополь
Сургут
Сыктывкар
Тараз
Ташкент
Токмак
Томск
Тында
Тюмень
Ульяновск
Усинск
Усть-Каменогорск
Уфа
Хабаровск
Ханты-Мансийск
Херсон
Челябинск
Чита
Шымкент
Экибастуз
Энергодар
Южно-Сахалинск
Якутск
Ваш город
Шымкент
Войти
Запасные части к тракторам на одном сайте
+7 (932) 303-00-10
+7 (932) 303-00-10
г. Шымкент, ул. Акназар Хана, д. 2/2
Пн-Пт: 9:30-18:30 Cб-Вс: Выходной
Отправить заявку


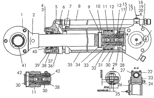
Гидроцилиндр на Т-170


/
с НДС 20%
Описание
Гидроцилиндр Т-170
Поз.НаименованиеАртикулКол-во в сборке
0Гидроцилиндр 50-26-570СП2
0Клапан50-26-207СП2
1Крышка50-26-8822
2Шток50-26-622СП1
3БолтМ12Х30.58.0194
4Шайба12ОТ65Г094
5Крышка50-26-625СП1
6Втулка опорно-направляющая штоковаяЕ22-063-30-2,51
7Кольцо096-100-30-2-21
8Труба50-26-623СП1
9Кольцо пружинное700-58-25711
10Втулка50-26-8761
11Поршень50-26-8781
12Пружина700-38-28791
13Проставка50-26-8751
14Винт700-35-21771
15Шайба 700-31-25841
16БолтМ6Х35.58.0192
17Шайба6Т65Г092
18БолтМ10Х75.58.0196
19ГайкаМ10Х6.0196
20Шайба10ОТ65Г096
21Шпонка3-8Х7Х204
22Бугель50-26-8791
23Крышка50-26-8811
24Сухарь50-26-8844
25Масленка 1.3.Ц62
26Крышка50-26-8801
27Прокладка700-40-84061
28Гайка700-41-36631
29Кольцо024-030-36-2-22
30Клапан50-50-2451
31Уплотнение поршневое комбинированное (с поджимным кольцом 02-100)Е13-1001
32Втулка опорно-направляющая поршневаяЕ21-100-12-3,01
33Кольцо045-050-30-2-21
34Палец50-26-8771
35Корпус50-26-621СП1
36БолтМ16Х1,5-6gХ60.88.35.0164
37Шайба 16ОТ65Г094
38МанжетаНЕ3-063-083-151
39Фланец50-26-8851
40Грязесъемник комбинированный (с подвижным кольцом 01-63)Е52-0631
41Сфера50-26-8831
42Втулка50-26-7241
Гидроцилиндр